梦幻西游炼药配方大全 梦幻西游炼药攻略
更新时间:2024-09-21
来源:互联网 作者 : 佚名梦幻西游怎么炼药?炼药配方有哪些?下面小编给大家带来了详细的攻略解读,帮助你更好的驰聘战场。

炼药丹方:
1、玩家在中药医理技能≥10级就可以自行炼制丹药,随着技能等级的提高,炼出的药品效果以及炼药的成功率也会增加。

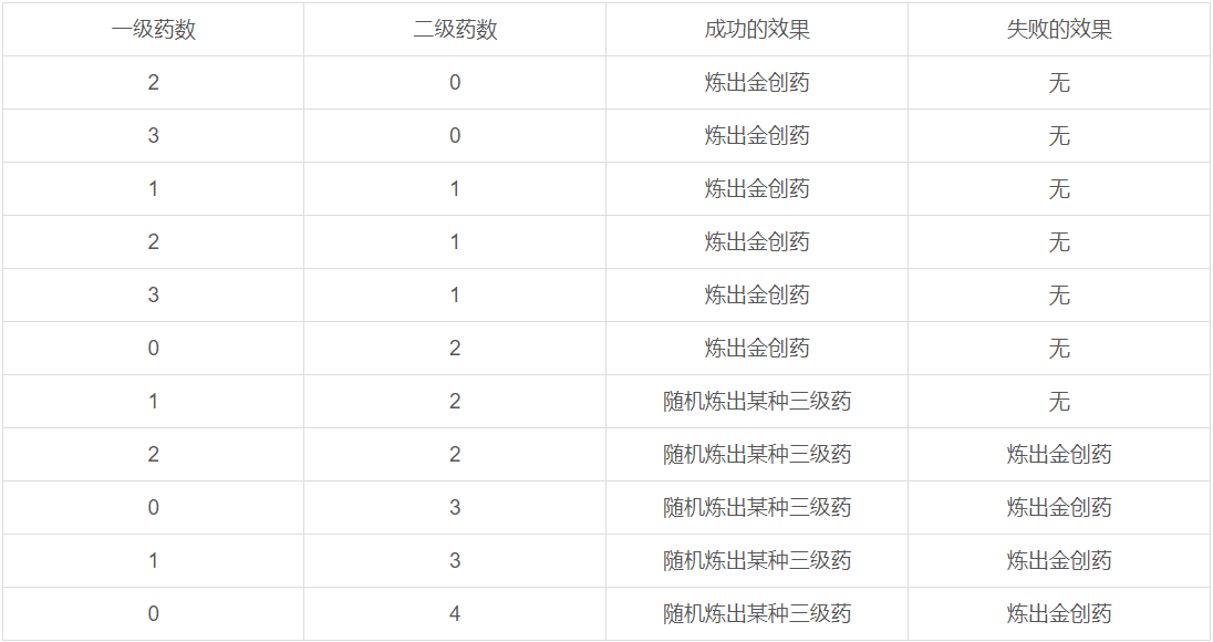
2、玩家等级大于等于120级,炼药技能等级大于等100级,炼药时可以使用新的配方。新配方为:3个2级药+1个3级药(需品质>10)=3级药原料所属列表中随机一个3级药。

3、炼药配方:首先注意系统通知,它会提示你现在是某个门派有练某种药的秘方了。然后去天宫顺风耳打听好配方,用该门派的号练,某种药成功几率比较大。
一般方法是3个2J+1个1J=3J,4个2J药也可以,几率大一点。出什么药是随机的,和2J药的种类没关系, 特殊的是门派的秘方3药,根据系统给的配方可以练出相应的3级药,配方不是一定的,系统没次发出的配方都不一样。
一般4个茶花练,不过最近维护了,在测试 4、推出炼药新配方,在部分服务器测试:
(1) 人物等级≥120级且炼药技能等级≥100级的玩家可以使用新的炼药方式进行炼药;
(2) 新炼药方式为:随机3个二级药+1个三级药(不包括金创药);
100%得到一个对应三级药材料所属列表中的随机一个三级药;
炼药攻略:
众所周知梦幻西游手游会在每周二、周四的13:00-13:30开启帮会百草谷活动,如果你认为没有用那你就大错特错了,因为在这里你可以获得一些商店买不到的药品,所以一定要抽出一些时间参加。
帮派二级药的主要玩法是用于炼药,其功效可大致分为:
1.提升产出三级药的成功率。
2.提升产出三级药的品质。
三级药配方
1.凤凰尾 × 4 → 定神香
2.火凤之睛 ×4 → 金香玉
3.孔雀红 × 4 → 五龙丹
4.血珊瑚 × 4 → 九转还魂丹
炼药技巧:
其实很多玩家喜欢用帮派药来炼药,觉得帮派药比药店的二级药要高端,其实不然,炼药的时候,四个格子可以这样分配,三个药店药,一个帮派药。帮派药首推血珊瑚和火凤之睛,二者选一。剩下的三个格子可以放两个鹿茸一个仙狐涎。
或者一个鹿茸两个仙狐涎。亲测之后,火凤之睛+鹿茸+鹿茸+仙狐涎或者火凤之睛+鹿茸+仙狐涎+仙狐涎概率超级高。不是九转就是金香玉!
重炼:
玩家可以把三药进行再次重练,两个三药可以合成一个随机种类、随机品质的三药(可以和炼制种类一样)。
药品的品质:药品的种类决定着药品的价值,但是品质就决定着是否能买高价格。
药的品质下限是中药医理技能等级的一半,上限则是中药医理技能+8。比如:中药医理技能为83级,则练出的药最低品质为83/2=41品质,最高为83+8=91品质。
所以想要炼药的玩家就需要注意了,在炼药的技能方面,需要玩家点到为数为3,这样才会收益最大化,比如:73、83、93。
更多资讯敬请关注视游手游网梦幻西游专区内容!
>> 点击返回 梦幻西游 wiki <<